A&T View:以太坊质押可提取价值中的投资机会

shuizaiqiaomen2022-12-12 15:52:49AnT Capital

01摘要

TL; DR:

  • 来源上,ETH Staking Extractable Value可以分为Consensus Income、Execution Income和MEV三类;流向上,ETH Staking Extractable Value可以分为Validator Captured Value(Validator Staking Income)和Validator Uncaptured Value两类。

  • Validator Infra Provider、Pooled Staking Protocol、CEX和Staker能够从Validator Staking Income中分一杯羹;Searcher、Block Builder能够从Validator Uncaptured Value中分一杯羹。

  • Validator Infra Provider、Stake Pool、Products based on DVT和External MEV Market中有值得关注的投资机会。


02正文

自The Merge发生以来,PoS共识机制下的Ethereum已经稳健运行了近三个月,ETH 2.0成功迈出了关键的第一步。

那么共识机制的转变带了哪些机会?

如果你想先了解ETH Staking Ecosystem的全貌,推荐阅读Staking Rewards (A&T Capital Portfolio)的详细报告。https://newsletter.stakingrewards.com/p/mapping-the-ethereum-staking-ecosystem,《Mapping the Ethereum Staking Ecosystem》

让我们把目光聚焦在ETH Staking Extractable Value的直接利益相关者,将上图简化,得到ETH Staking Extractable Value Chain。 

Staking Extractable Value是如何构成的?

两个角度:

  • Staking Extractable Value=Consensus Income + Execution Income + MEV

  • Staking Extractable Value=Validator Captured Value + Validator Uncaptured Value

从来源上,分为三类:

  • Consensus Income: 来自网络新增发的ETH Token,是共识机制对诚实Validator的奖励

  • Execution Income:来自Gas Fee中的Tip部分,是用户支付给帮助打包其交易上链的Proposer/Builder的小费

  • MEV: 来自执行某些特定交易产生的经济利益,形式最为多样,大多属于套利利润

从流向上,分为两类:

  • Validator Captured Value(Validator Staking Income):被分配给Validator,作为维护ETH网络安全、参与区块建立与共识所获得的经济激励

  • Validator Uncaptured Value: 被External MEV Market其他参与者瓜分,表现为MEV加上External Block’s Execution Income再减去分给Validator的MEV Rewards


Validator Captured Value(Validator Staking Income)是如何构成的?

Validator Staking Income=Consensus Income + Local Block’s Execution Income + MEV Rewards

Validator Staking Income共有三种不同来源,分别是Consensus Income、Local Block’s Execution Income 和 MEV Rewards。

对于一个Validator来说,Consensus Income是最基本、稳定的收入;Local Block’s Execution Income 和 MEV Rewards则相对偶然,只有当Validator被选为某个新区块的Proposer时才能获得。

Proposer具体获得何种收入,则取决于不同情况。在 Local Block Building的情况下,Proposer获得Execution Income;在External Block Building的情况下,Block Builder获得Execution Income,Proposer获得Block Builder支付的MEV Rewards。

  • Consensus Income:来自网络新增发的ETH Token,是共识机制对诚实Validator的奖励,可以细分为三类:

    • Proposer rewards: 当一个Validator被选中成为Proposer时,如果它提议的新区块被网络共识,它将因为网络贡献正确的新区块而获得Proposer rewards

    • Attestor rewards: 未被选为Proposer的Validator可以验证Proposer提议的新区块是否有误,参与验证的Validator可以获得Attestor rewards

    • Whistleblower rewards: 如果Proposer提议的区块中包含能够证明其他Validator违反共识规则的证据,它将获得Whistleblower rewards


  • Local Block’s Execution Income:来自Gas Fee中的Tip部分,是用户支付给帮助打包其交易上链的Proposer/Builder的小费。在 Local Block Building的情况下,Proposer (Validator)自行建设区块,并能够获得该区块中全部的Tip,这部分收入被称为Local Block’s Execution Income。

  • MEV Rewards: 来自Block Builder支付给Proposer的费用,本质上是MEV的一部分。在 External Block Building的情况下,Proposer (Validator)提议Block Builder建设的区块,Block Builder支付给Proposer的费用被称为MEV Rewards(Block Builder获得该区块的Execution Income)。这笔费用可能高于区块中全部的Tip(Block Builder额外补贴Proposer),也可能等于或低于区块中全部的Tip(Block Builder留存零利润或部分利润)。

注:EIP-1559后,ETH上每笔交易的Gas Fee被分为Base Fee和Tip。其中Base Fee会被燃烧,而Tip支付给该区块内的coinbase address(这一地址可以是Proposer的,也可以是Block Builder的)。

值得一提的是,目前Consensus Income仍无法提取,它被锁定在Validator在Beacon Chain的Balance中;而Execution Income和MEV Rewards可以被提取,因为它被转入了某个指定的账户中。


Validator Uncaptured Value是如何构成的?

Validator Uncaptured Value=MEV + External Block’s Execution Income - MEV Rewards

  • MEV:来自执行某些特定交易产生的经济利益,形式最为多样,大多属于套利利

  • External Block’s Execution Income:来自中Gas Fee里的Tip部分,是用户支付给帮助打包其交易上链的Builder的小费 External Block Building的情况下,Builder将其建设的区块内的coinbase address(用来收取tip的地址)设置为Builder的地址,所以Builder能够获得该区块中全部的Tip,

  • MEV Rewards: 来自Block Builder支付给Proposer的费用,是MEV中被Proposer捕获的部分


谁能从Staking Extractable Value中分一杯羹?

关于Validator Captured Value:

按Staker选择以何种方式质押讨论。按Ethereum官方说法,可以分为以下四类:

1.Solo Staking:Staker-100%

2.Staking as a Service:Staker-90~95%,Validator Infra Provider-5~10%

3.Pooled Staking:Staker-90%,Pooled Staking Protocol-5%,Validator Infra Provider-5%

4.Centralized Exchanges:Staker-85~95%,CEX-0~10%,Validator Infra Provider-5%

(Stake Pool包括Pooled Staking Protocol和CEX)

关于Validator Uncaptured Value:

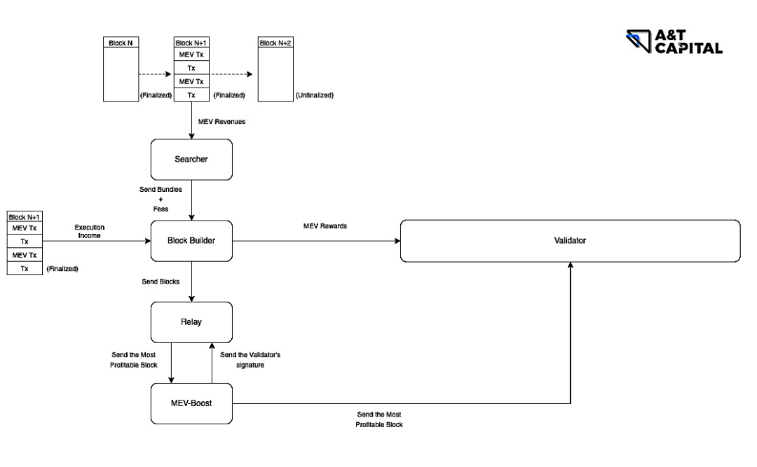
目前,Validator Uncaptured Value被Searcher和Block Builder瓜分,Relay尚未从中提取价值。理论上,Relay是一个被信任的中继结构,作为撮合Block Builder和Proposer的市场,存在商业化的可能。

External MEV Market Architectures:

Searcher:

  • 行为:将自己的MEV TXs插入一组TXs,形成Bundles发送给Builder

  • 收入MEV TXs被执行带来的收益(MEV)

  • 成本MEV TXsGas fee(Base fee+Tip)和付给Builder的费用

Block Builder:

  • 行为根据得到的Bundles和Mem Pool中的TXs组成Full Block,并将其发送给Proposer其中,Full Block中的coinbase address(用来收取tip的地址)设置为Builder的地址,而Full Block中的最后一笔TX是Builder转账到Proposer的地址

  • 收入:Full Block中的Tip和Searcher支付的费用

  • 成本:付给Proposer的费用


Relay:

  • 行为:接受众多Builders发送的Full Blocks,并将对Proposer最有利的Full Block发送给Proposer

  • 收入:尚未收取任何费用

  • 成本:服务器运维成本


哪些方向有值得关注的投资机会

  • Validator Infra Provider

  • Stake Pool

  • Products based on DVT

  • External MEV Market

Validator Captured Value是“浮在水面上的价值”,这个市场相对成熟,各利益相关者提取价值的比例也相对固定。

最显而易见的两个投资方向是Validator Infra Provider和Stake Pool。A&T Capital均有布局

投资逻辑可以参考我们之前的文章:

A&T Family: 独角兽企业InfStones完成新一轮6600万美元融资

A&T Family:流动性质押方案Meta Pool完成种子轮融资

不过,这绝非一个一成不变的市场,DVT(Distributed Validator Technology)的成熟和应用会成为新的“鲶鱼”。

DVT通过运行在不同硬件上的Node Operator共同承担一个Validator的职责,使得Validator更去中心化的同时避免硬件设备的单点故障。

基于DVT,可以实现不同形式的产品,并通过不同的路径实现商业化。SSV Network和Obol Network正是一组很好的例子。

SSV Network旨在建立一个撮合Staker与Node Operator的公开市场,Staker可以遴选不同的Node Operator同时为他们运维一个Validator,以防止单点故障;而Node Operator也有了一定冗余,能够更灵活地应对各类突发情况。

Obol Network目前则更像一套SaaS解决方案,且兼顾To C 和 To B。

Validator Uncaptured Value是“藏在水面下的价值”,由于涉及到External MEV Market(Off-chain)并没有那么透明。

 

MEV比想象中更重要

MEV源于执行某些特殊交易产生的利润,形式复杂多样。理论上,链上交易越活跃,MEV的上限越高。有时,MEV会比Consensus Income + Execution Income更高。

MEV的总量是难以计量的(很难说MEV TXs的执行一共带来了多少利润)。但几乎可以肯定的是,MEV的总量要大于分配给Validator的MEV Rewards。

(https://www.rated.network/relays?network=mainnet)

Merge以来,External MEV Market已经向Validator分配了近六万枚ETH的奖励,而MEV的总量只会比这个数字更高。

值得肯定的是,Flashbots提出的MEV-Boost体系对保持Ethereum Validator的去中心化起到了促进作用。每一个Validator都能够通过MEV-Boost客户端接收各个Relay发送的Block,并遴选出最优的,而不需要再依附某个大型的质押池才能获得更高收入。

然而,目前的市场仍有一系列亟需解决的问题:

  • 市场中有许多需要被信任的结构,存在审查风险

  • Block Builder和Relay有集中化的趋势

在External MEV Market中,Searcher需要信任Builder,Builder需要信任Relay。而实际上Builder拥有审查Searcher’s Bundles的能力,Relay拥有审查Builder’s Block的能力。

例如,Flashbots Relay就不再提交包含Tornadao Cash交易的区块。

 (source: https://twitter.com/nero_eth)

需要信任某一主体已经足够糟糕了,更糟糕的是被信任的主体越来越集中化。 

(source: https://www.relayscan.io/overview?t=7d

Relayscan.io的数据显示,过去一周内,前五大的Relay占据了超95%的份额,而前五大的Builder占据了超85%份额。

(source: https://www.relayscan.io/builder-profit?t=7d

值得一提的是,有些Builder为了让自己建设的区块胜出,甚至在补贴Proposer(Builder付给Proposer的费用大于coinbase address中收到的Tip)。这一现象的可能原因是Builder本身也是Searcher,能够从特殊交易执行中获利。

External MEV Market中有投资机会

一个需要被信任、且集中化的市场不是我们希望看到的。能够优化External MEV Market的商业化解决方案会是值得关注的投资机会。


如有与本文观点相同/相异的非常欢迎联系笔者本人讨论交流!


 ► 本文作者








Liam, A&T Capital Analyst,DeFi farmer

推特:@Liam_CRF

Telegram:@CryptoRookieFarmer

邮箱:lm@capitalant.com












#关于A&T Capital



A&T Capital是一家针对新兴颠覆性技术的风投基金。基金专注于支持早期到成长阶段的初创公司。背靠5家金融技术Decacorn(100亿美元以上的估值),分布式记账技术早期支持者以及一批经验丰富产品负责人,A&T Capital在推动下一代去中心化数字时代的初创企业进行大规模落地上具有独特的优势。




#加入A&T Capital





►  区块链投资经理/分析师/实习生



岗位职责:

  1. 调研,分析区块链项目。向内输出报告及PR文章。

  2. 与项目方接洽,学习/使用/评估项目方的项目以及团队。

  3. 对区块链相关赛道进行关注。输出相关文章及分析。

岗位要求:

  1. 对区块链行业有着极大的热情,热爱思考,具备结构化思维和逻辑思考能力。

  2. 有一定的区块链行业知识。(分析师:对各大公链,DeFi,NFT,跨链,Layer2有较为深刻理解)

  3. 有搭建财务模型和数据分析经验者优先。

  4. 国内外一流大学本科或以上学历优先。



► PR 总监/经理/实习生



岗位职责:

  1. 负责制定和执行A&T Capital的公关策略。

  2. 监督公司各个渠道(Twitter、媒体、网站、微信公众号等)的内容管理,建立A&T Capital的媒体影响力。

  3. 与公司的媒体合作伙伴和KOL保持高效的合作关系并拓展。

岗位要求:

  1. 熟悉Coindesk,Cointelegraph等国际媒体渠道,有品牌打造和公共关系方面的经验。

  2. 自信的书面和口头交流表达技巧。

  3. 英语流利,可作为工作语言。

  4. 有区块链从业经验,责任心强,能够适应区块链行业节奏。



工作收获(包括但不限于)



  1. 直接接触到最顶尖的区块链项目方,与项目方成员直接沟通,保持密切联系。

  2. 第一时间和区块链最新的发展趋势保持联系,密切参与到行业的快速发展迭代之中。

  3. 行业领先的薪资福利待遇。



联系方式



  1. 联系人:jun@capitalant.com

  2. 邮件标题:申请岗位 + 姓名(如申请实习:+学校+实习时间)

  3. 邮件内容:简历,可附上您之前有关区块链领域的研究。

工作地点:新加坡 \ 柏林 \ 上海 \ 旧金山

推荐成功入职六个月赠送推荐人iPhone13一部





详解EIP-4361:什么是以太坊登录?|Tokenview

Tokenview点击蓝字关注我们为了方便大家阅读,可预览目录Part1:什么是EIP-4361?Part2:以太坊登录对Web3的重要性?Part3:创建以太坊登录界面Part4:解析ENS数据Part5:Tokenview科普时间正文开始当用户登录到web2...

A&T View:史上最全Gamefi上下游发展现状及展望(上)

01摘要gamefi相比web3其他赛道会有更多web2的用户、有更多的交互需要更好的性能,并且链上资产的同质化很高、数量很多,所以需要更加垂直化的web3基础设施,目前也已经出现了这个趋势;目前大部分gamefi的去中心化程...

加密生存法则(合集):博弈胜率和项目基本面研究

所有的胜利,都是来自对信仰的坚持。相信相信的力量,这里从未让你我失望。欢迎关注星空价值投资,总要有人,仰望星空。两篇文章在小号发送,很多朋友说看的不放面,现整理成一篇文章,方便阅读喝收藏。--------博弈...

肖风:以太坊的“上海时刻”

图片来源:视觉中国▎肖风作序重磅推荐!是谁资助了以太坊的创业发展?(本文为万向区块链创始人肖风为中译出版社出版的《点对万物:以太坊与未来数字金融》所作序言,授权钛媒体App独家首发)2022年9月15日,以太坊...

链下扩容深度解析—Cobo Ventures重磅研报

本文作者(按照首字母排序):EllaineXu,HettieJiang,JuneWang,WalonLin,YiliuLin此篇是CoboGlobal的第19篇文章目录</h1>1.扩容的必要性2.扩容方案的类别3.链下扩容的方案4.总结展望参考目录1.扩容的必要性区块链的...

上一篇:丢失17000美元后,我如何保护自己的加密钱包?
下一篇:2022 年加密支付赛道现状:尽管市场转熊,但加密支付需求仍在上升